(!)Due to Microsoft's end of support for Internet Explorer 11 on 15/06/2022, this site does not support the recommended environment.
- Locating Pins - Shouldered (Tapered Press Fit) from MISUMI.
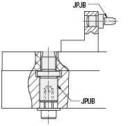
- Shouldered Standard Tapered Head allows for height adjustment of the locating target.
- Insertion guide tip shape can be selected 2 types, round, and diamond.
- SUS440C or 13Cr stainless has an identification groove on D part.
- A machining step remains on the shoulder top for Diamond Shape.
- SUS304 may not be polished and may have no centering hole.
- The material of pin can be selected 3 types, steel SKS3 Equivalent, stainless steel SUS304, SUS440C or 13Cr stainless.
Part Number
Configured Part Number is shown.
(Round)
(Diamond)


When D (P) ≥ 3
a = 1.0
d = D(P)-0.2
[ ! ] Relief dimensions are reference values.
When D (P) < 3
a = 0.5
d = D(P)-0.1
| Material No. | [ M ] Material | [ S ] Surface Treatment | [ H ] Hardness | P Fixed | P Configurable | P, L, B Configurable | |||
| Type | Shape Code | Type | Shape Code | Type | Shape Code | ||||
| (1) | SKS3 Equivalent | - | Treated Hardness: 60 to 63 HRC | JP | JB (Round) DJ(Diamond) | JP | JA (Round) | FP | JA (Round) JD(Diamond) |
| (3) | SUS304 | - | - | SJP | - | SFP | |||
| (5) | SUS440C or 13Cr Stainless Steel | - | Treated Hardness: 50 to 55 HRC | - | - | CFP | |||
| Part Number | - | P | - | L | - | B | ||||
| Type | Config. | D | ||||||||
| JP JP FP | JB JA JD | 6 8 12 | - - - | 4 5.04 P11.97 | - | L12 | - | B5.5 | ||
| Part Number | P Selection | L | B | C | m | H | (W) | ||||||||||||||||
| Type | Config. | D | D Dimension Tolerance m6 | ||||||||||||||||||||
| JP SJP | JB (Round) DJ (Diamond) [ ! ] Applicable when D ≥ 3 | 2 | +0.008 +0.002 | 1 | 2 | 4 | 2 | 0.5 | 0.5 | 6 | - | ||||||||||||
| 3 | 2 | 3 | 4 | 5 | 1 | 1.0 | |||||||||||||||||
| 4 | +0.012 +0.004 | 2 | 3 | 4 | 5 | 3 | 1 | 1.2 | |||||||||||||||
| 5 | 3 | 4 | 5 | 6 | 10 | 5 | 2 | 8 | 1.5 | ||||||||||||||
| 6 | 4 | 5 | 6 | 1.8 | |||||||||||||||||||
| 8 | +0.015 +0.006 | 5 | 6 | 8 | 15 | 6 | 1.5 | 3 | 11 | 2.2 | |||||||||||||
| 10 | 8 | 10 | 8 | 2 | 13 | 3 | |||||||||||||||||
| 12 | +0.018 +0.007 | 8 | 10 | 12 | 15 | 3.2 | |||||||||||||||||
| 13 | 8 | 10 | 12 | 13 | 22 | 4 | 16 | 3.5 | |||||||||||||||
| 16 | 13 | 14 | 15 | 16 | 10 | 3 | 19 | 4 | |||||||||||||||
| 20 | +0.021 +0.008 | 16 | 20 | 30 | 5 | 23 | 5.5 | ||||||||||||||||
| Part Number | P | L | B | C | m | H | (W) | |||
| Type | Config. | D | D Dimension Tolerance m6 | 0.01 mm Increments | ||||||
| JP | JA (Round) | 2 | +0.008 +0.002 | 1.00 to 2.00 | 4 | 2 | 0.5 | 0.5 | 6 | - |
| 3 | 2.00 to 4.00 | 5 | 1 | 1.0 | ||||||
| 4 | +0.012 +0.004 | 2.00 to 5.00 | 3 | 1 | 1.2 | |||||
| 5 | 3.00 to 6.00 | 10 | 5 | 2 | 8 | 1.5 | ||||
| 6 | 4.00 to 7.00 | 1.8 | ||||||||
| 8 | +0.015 +0.006 | 5.00 to 9.00 | 15 | 6 | 1.5 | 3 | 11 | 2.2 | ||
| 10 | 7.00 to 11.00 | 8 | 2 | 13 | 3.0 | |||||
| 12 | +0.018 +0.007 | 7.00 to 12.00 | 15 | 3.2 | ||||||
| 13 | 8.00 to 13.00 | 22 | 4 | 16 | 3.5 | |||||
| 16 | 13.00 to 16.00 | 10 | 3 | 19 | 4.0 | |||||
| 20 | +0.021 +0.008 | 16.00 to 20.00 | 30 | 5 | 23 | 5.5 | ||||
| Part Number | P 0.01 mm Increments | L 1 mm Increments | B 0.1 mm Increments | C | m | H | (W) | |||
| Type | Config. | D | D Dimension Tolerance m6 | |||||||
| FP SFP CFP | JA (Round) JD (Diamond) [ ! ] Applicable when D ≥ 3 | 2 | +0.008 +0.002 | 1.00 to 2.00 | 2 to 4 | 2.0 to 10.0 | 0.5 | 0.5 | 6 | - |
| 3 | 2.00 to 4.00 | 3 to 6 | 2.0 to 10.0 | 1 | 1.0 | |||||
| 4 | +0.012 +0.004 | 2.00 to 5.00 | 4 to 8 | 2.0 to 10.0 | 1 | 1.2 | ||||
| 5 | 3.00 to 6.00 | 5 to 10 | 2.0 to 15.0 (10.0) | 2 | 8 | 1.5 | ||||
| 6 | 4.00 to 7.00 | 5 to 12 | 2.0 to 15.0 | 1.8 | ||||||
| 8 | +0.015 +0.006 | 5.00 to 9.00 | 5 to 16 | 2.0 to 20.0 (15.0) | 1.5 | 3 | 11 | 2.2 | ||
| 10 | 7.00 to 12.00 | 8 (10)Up to 20 | 3.0 to 30.0 (25.0) | 2 | 13 | 3 | ||||
| 12 | +0.018 +0.007 | 7.00 to 12.00 | 10 to 24 | 3.0 to 30.0 (25.0) | 15 | 3.2 | ||||
| 13 | 8.00 to 13.00 | 13 to 26 | 5.0 to 30.0 (25.0) | 4 | 16 | 3.5 | ||||
| 16 | 13.00 to 16.00 | 16 to 32 | 5.0 to 30.0 | 3 | 19 | 4 | ||||
| 20 | +0.021 +0.008 | 16.00 to 20.00 | 20 to 40 | 5.0 to 30.0 | 5 | 23 | 5.5 | |||
| Alterations Code | Alteration Details | Application Conditions | Ordering Example | ||||||||||||||||||||||||||
| HC | Wrench Flats Alteration![]() | HC = 0.5 mm Increments [ ! ] HC > D HC > P | FPJA6-P4.01-L8-B8.5-HC7.0 | ||||||||||||||||||||||||||
| TC | Length of Tapered Point![]() | Changes the m dimension. 1 mm Increments [ ! ] B + m ≥ TC + 2 (Straight Section min. 2 mm) [ ! ] Applicable when P ≥ 2.00 [ ! ] P/2-TCtan15° (≒ 0.27) > 0.5 (Tip ø1.0 min.) [ ! ] B dimension changes when TC is specified. (Changed B dimension = B + m - TC)
| FPJA6-P4.01-L8-B8.5-TC7.0 | ||||||||||||||||||||||||||
| RC | Adds Sphere Tip![]() | Changes the relief to R0.5. [ ! ] Applicable when H - P ≥ 2 | FPJA6-P4.01-L8-B8.5-RC |
CAD Data download and 3D preview are not available because the part number has not yet been determined.
| Part Number |
|---|
| SFPJA2-P[1-2/0.01]-L[2-4/1]-B[2-10/0.1] |
| SFPJA3-P[2-4/0.01]-L[3-6/1]-B[2-10/0.1] |
| SFPJA4-P[2-5/0.01]-L[4-8/1]-B[2-10/0.1] |
| SFPJA5-P[3-6/0.01]-L[5-10/1]-B[2-10/0.1] |
| SFPJA6-P[4-7/0.01]-L[6-12/1]-B[2-12/0.1] |
| SFPJA8-P[5-9/0.01]-L[8-16/1]-B[2-15/0.1] |
| SFPJA10-P[7-11/0.01]-L[10-20/1]-B[3-20/0.1] |
| SFPJA12-P[7-12/0.01]-L[12-24/1]-B[3-20/0.1] |
| SFPJA13-P[8-13/0.01]-L[13-26/1]-B[5-20/0.1] |
| SFPJA16-P[13-16/0.01]-L[16-32/1]-B[5-20/0.1] |
| SFPJA20-P[16-20/0.01]-L[20-40/1]-B[5-20/0.1] |
| SFPJD3-P[2-4/0.01]-L[3-6/1]-B[2-10/0.1] |
| SFPJD4-P[2-5/0.01]-L[4-8/1]-B[2-10/0.1] |
| SFPJD5-P[3-6/0.01]-L[5-10/1]-B[2-10/0.1] |
| SFPJD6-P[4-7/0.01]-L[6-12/1]-B[2-12/0.1] |
| SFPJD8-P[5-9/0.01]-L[8-16/1]-B[2-15/0.1] |
| SFPJD10-P[7-11/0.01]-L[10-20/1]-B[3-20/0.1] |
| SFPJD12-P[7-12/0.01]-L[12-24/1]-B[3-20/0.1] |
| SFPJD13-P[8-13/0.01]-L[13-26/1]-B[5-20/0.1] |
| SFPJD16-P[13-16/0.01]-L[16-32/1]-B[5-20/0.1] |
| SFPJD20-P[16-20/0.01]-L[20-40/1]-B[5-20/0.1] |
| SJPDJ3-[2,3,4] |
| SJPDJ4-[2,3,4,5] |
| SJPDJ5-[3,4,5,6] |
| SJPDJ6-[4,5,6] |
| SJPDJ8-[5,6,8] |
| SJPDJ10-[8,10] |
| SJPDJ12-[8,10,12] |
| SJPDJ13-[8,10,12,13] |
| SJPDJ16-[13,14,15,16] |
| SJPDJ20-[16,20] |
| SJPJB2-[1,2] |
| SJPJB3-[2,3,4] |
| SJPJB4-[2,3,4,5] |
| SJPJB5-[3,4,5,6] |
| SJPJB6-[4,5,6] |
| SJPJB8-[5,6,8] |
| SJPJB10-[8,10] |
| SJPJB12-[8,10,12] |
| SJPJB13-[8,10,12,13] |
| SJPJB16-[13,14,15,16] |
| SJPJB20-[16,20] |
| Part Number | Standard Unit Price | Minimum order quantity | Volume Discount | Days to Ship | RoHS | Insertion Guide Tip Shape | Material Details | Heat Treatment | Material | Locating Side Outer Dia. P (Ø) (mm) | Mounting Side Outer Dia. D (mm) | Mounting Section Length L (mm) | Positioning Part Length B (mm) | Dimension Configurable Type | Positioning Part Length B (mm) |
|---|---|---|---|---|---|---|---|---|---|---|---|---|---|---|---|
- | 1 Piece(s) | 3 Day(s) | 10 | Round | SUS304 | Not Provided | [Stainless Steel] SUS304 | 1 ~ 2 | 2 | 2 ~ 4 | - | P, L, B Configurable | 2 ~ 10 | ||
- | 1 Piece(s) | 3 Day(s) | 10 | Round | SUS304 | Not Provided | [Stainless Steel] SUS304 | 2 ~ 4 | 3 | 3 ~ 6 | - | P, L, B Configurable | 2 ~ 10 | ||
- | 1 Piece(s) | 3 Day(s) | 10 | Round | SUS304 | Not Provided | [Stainless Steel] SUS304 | 2 ~ 5 | 4 | 4 ~ 8 | - | P, L, B Configurable | 2 ~ 10 | ||
- | 1 Piece(s) | 3 Day(s) | 10 | Round | SUS304 | Not Provided | [Stainless Steel] SUS304 | 3 ~ 6 | 5 | 5 ~ 10 | - | P, L, B Configurable | 2 ~ 10 | ||
- | 1 Piece(s) | 3 Day(s) | 10 | Round | SUS304 | Not Provided | [Stainless Steel] SUS304 | 4 ~ 7 | 6 | 6 ~ 12 | - | P, L, B Configurable | 2 ~ 12 | ||
- | 1 Piece(s) | 3 Day(s) | 10 | Round | SUS304 | Not Provided | [Stainless Steel] SUS304 | 5 ~ 9 | 8 | 8 ~ 16 | - | P, L, B Configurable | 2 ~ 15 | ||
- | 1 Piece(s) | 3 Day(s) | 10 | Round | SUS304 | Not Provided | [Stainless Steel] SUS304 | 7 ~ 11 | 10 | 10 ~ 20 | - | P, L, B Configurable | 3 ~ 20 | ||
- | 1 Piece(s) | 3 Day(s) | 10 | Round | SUS304 | Not Provided | [Stainless Steel] SUS304 | 7 ~ 12 | 12 | 12 ~ 24 | - | P, L, B Configurable | 3 ~ 20 | ||
- | 1 Piece(s) | 3 Day(s) | 10 | Round | SUS304 | Not Provided | [Stainless Steel] SUS304 | 8 ~ 13 | 13 | 13 ~ 26 | - | P, L, B Configurable | 5 ~ 20 | ||
- | 1 Piece(s) | 3 Day(s) | 10 | Round | SUS304 | Not Provided | [Stainless Steel] SUS304 | 13 ~ 16 | 16 | 16 ~ 32 | - | P, L, B Configurable | 5 ~ 20 | ||
- | 1 Piece(s) | 3 Day(s) | 10 | Round | SUS304 | Not Provided | [Stainless Steel] SUS304 | 16 ~ 20 | 20 | 20 ~ 40 | - | P, L, B Configurable | 5 ~ 20 | ||
- | 1 Piece(s) | 4 Day(s) | 10 | Diamond | SUS304 | Not Provided | [Stainless Steel] SUS304 | 2 ~ 4 | 3 | 3 ~ 6 | - | P, L, B Configurable | 2 ~ 10 | ||
- | 1 Piece(s) | 4 Day(s) | 10 | Diamond | SUS304 | Not Provided | [Stainless Steel] SUS304 | 2 ~ 5 | 4 | 4 ~ 8 | - | P, L, B Configurable | 2 ~ 10 | ||
- | 1 Piece(s) | 4 Day(s) | 10 | Diamond | SUS304 | Not Provided | [Stainless Steel] SUS304 | 3 ~ 6 | 5 | 5 ~ 10 | - | P, L, B Configurable | 2 ~ 10 | ||
- | 1 Piece(s) | 4 Day(s) | 10 | Diamond | SUS304 | Not Provided | [Stainless Steel] SUS304 | 4 ~ 7 | 6 | 6 ~ 12 | - | P, L, B Configurable | 2 ~ 12 | ||
- | 1 Piece(s) | 4 Day(s) | 10 | Diamond | SUS304 | Not Provided | [Stainless Steel] SUS304 | 5 ~ 9 | 8 | 8 ~ 16 | - | P, L, B Configurable | 2 ~ 15 | ||
- | 1 Piece(s) | 4 Day(s) | 10 | Diamond | SUS304 | Not Provided | [Stainless Steel] SUS304 | 7 ~ 11 | 10 | 10 ~ 20 | - | P, L, B Configurable | 3 ~ 20 | ||
- | 1 Piece(s) | 4 Day(s) | 10 | Diamond | SUS304 | Not Provided | [Stainless Steel] SUS304 | 7 ~ 12 | 12 | 12 ~ 24 | - | P, L, B Configurable | 3 ~ 20 | ||
- | 1 Piece(s) | 4 Day(s) | 10 | Diamond | SUS304 | Not Provided | [Stainless Steel] SUS304 | 8 ~ 13 | 13 | 13 ~ 26 | - | P, L, B Configurable | 5 ~ 20 | ||
- | 1 Piece(s) | 4 Day(s) | 10 | Diamond | SUS304 | Not Provided | [Stainless Steel] SUS304 | 13 ~ 16 | 16 | 16 ~ 32 | - | P, L, B Configurable | 5 ~ 20 | ||
- | 1 Piece(s) | 4 Day(s) | 10 | Diamond | SUS304 | Not Provided | [Stainless Steel] SUS304 | 16 ~ 20 | 20 | 20 ~ 40 | - | P, L, B Configurable | 5 ~ 20 | ||
- | 1 Piece(s) | 4 Day(s) | 10 | Diamond | SUS304 | Not Provided | [Stainless Steel] SUS304 | 2 ~ 4 | 3 | 5 | 2 | P Selectable | - | ||
- | 1 Piece(s) | 4 Day(s) | 10 | Diamond | SUS304 | Not Provided | [Stainless Steel] SUS304 | 2 ~ 5 | 4 | 5 | 3 | P Selectable | - | ||
- | 1 Piece(s) | 4 Day(s) | 10 | Diamond | SUS304 | Not Provided | [Stainless Steel] SUS304 | 3 ~ 6 | 5 | 10 | 5 | P Selectable | - | ||
- | 1 Piece(s) | 4 Day(s) | 10 | Diamond | SUS304 | Not Provided | [Stainless Steel] SUS304 | 4 ~ 6 | 6 | 10 | 5 | P Selectable | - | ||
- | 1 Piece(s) | 4 Day(s) | 10 | Diamond | SUS304 | Not Provided | [Stainless Steel] SUS304 | 5 ~ 8 | 8 | 15 | 6 | P Selectable | - | ||
- | 1 Piece(s) | 4 Day(s) | 10 | Diamond | SUS304 | Not Provided | [Stainless Steel] SUS304 | 8 ~ 10 | 10 | 15 | 8 | P Selectable | - | ||
- | 1 Piece(s) | 4 Day(s) | 10 | Diamond | SUS304 | Not Provided | [Stainless Steel] SUS304 | 8 ~ 12 | 12 | 15 | 8 | P Selectable | - | ||
- | 1 Piece(s) | 4 Day(s) | 10 | Diamond | SUS304 | Not Provided | [Stainless Steel] SUS304 | 8 ~ 13 | 13 | 22 | 8 | P Selectable | - | ||
- | 1 Piece(s) | 4 Day(s) | 10 | Diamond | SUS304 | Not Provided | [Stainless Steel] SUS304 | 13 ~ 16 | 16 | 22 | 10 | P Selectable | - | ||
- | 1 Piece(s) | 4 Day(s) | 10 | Diamond | SUS304 | Not Provided | [Stainless Steel] SUS304 | 16 ~ 20 | 20 | 30 | 10 | P Selectable | - | ||
- | 1 Piece(s) | 3 Day(s) | 10 | Round | SUS304 | Not Provided | [Stainless Steel] SUS304 | 1 ~ 2 | 2 | 4 | 2 | P Selectable | - | ||
- | 1 Piece(s) | 3 Day(s) | 10 | Round | SUS304 | Not Provided | [Stainless Steel] SUS304 | 2 ~ 4 | 3 | 5 | 2 | P Selectable | - | ||
- | 1 Piece(s) | 3 Day(s) | 10 | Round | SUS304 | Not Provided | [Stainless Steel] SUS304 | 2 ~ 5 | 4 | 5 | 3 | P Selectable | - | ||
- | 1 Piece(s) | 3 Day(s) | 10 | Round | SUS304 | Not Provided | [Stainless Steel] SUS304 | 3 ~ 6 | 5 | 10 | 5 | P Selectable | - | ||
- | 1 Piece(s) | 3 Day(s) | 10 | Round | SUS304 | Not Provided | [Stainless Steel] SUS304 | 4 ~ 6 | 6 | 10 | 5 | P Selectable | - | ||
- | 1 Piece(s) | 3 Day(s) | 10 | Round | SUS304 | Not Provided | [Stainless Steel] SUS304 | 5 ~ 8 | 8 | 15 | 6 | P Selectable | - | ||
- | 1 Piece(s) | 3 Day(s) | 10 | Round | SUS304 | Not Provided | [Stainless Steel] SUS304 | 8 ~ 10 | 10 | 15 | 8 | P Selectable | - | ||
- | 1 Piece(s) | 3 Day(s) | 10 | Round | SUS304 | Not Provided | [Stainless Steel] SUS304 | 8 ~ 12 | 12 | 15 | 8 | P Selectable | - | ||
- | 1 Piece(s) | 3 Day(s) | 10 | Round | SUS304 | Not Provided | [Stainless Steel] SUS304 | 8 ~ 13 | 13 | 22 | 8 | P Selectable | - | ||
- | 1 Piece(s) | 3 Day(s) | 10 | Round | SUS304 | Not Provided | [Stainless Steel] SUS304 | 13 ~ 16 | 16 | 22 | 10 | P Selectable | - | ||
- | 1 Piece(s) | 3 Day(s) | 10 | Round | SUS304 | Not Provided | [Stainless Steel] SUS304 | 16 ~ 20 | 20 | 30 | 10 | P Selectable | - |
Loading...

| Basic Shape | Shouldered | Insertion Guide Tip Type | Tapered | Insertion Guide Specifications | Not Provided |
|---|---|---|---|---|---|
| Mounting Side Shape | Straight (Press-Fit) | Surface Treatment | Not Provided | Locating Side O.D. Tolerance | 0/-0.01 |
| Mounting Side Tolerance | m6 |




MISUMI
Days to Ship : 4 Day(s) or more







MISUMI
Days to Ship : 3 Day(s) or more



How can we improve?
How can we improve?
While we are not able to respond directly to comments submitted in this form, the information will be reviewed for future improvement.
Customer Privacy Policy
Thank you for your cooperation.
While we are not able to respond directly to comments submitted in this form, the information will be reviewed for future improvement.
Please use the inquiry form.
Customer Privacy Policy